By DeJonge Associates, Inc.
DeJonge Associates
Developer of Consumer Pharmaceuticals Packaging and Drug Delivery Systems for some of America's best known brands.
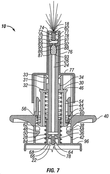
Metered Liquid Dispenser, Screw Type
The Screw Type Metered Liquid Dispenser contains a reciprocal piston drive mechanism and dispenses a predetermined dosage of medicine or other product. It is applicable for a broad range of uses requiring repeated dispensing of a metered dosage of medicine without fluctuations in the amount of medicine dispensed, and without the dispenser being readily susceptible to contamination during use.
View the full patent for the Screw Type Metered Dispenser with Feed.
Please contact DeJonge Associates for samples or additional information.
