By DeJonge Associates, Inc.
DeJonge Associates
Developer of Consumer Pharmaceuticals Packaging and Drug Delivery Systems for some of America's best known brands.
Metered Dose Squeeze Dispenser with Flexible-T Dip Tube
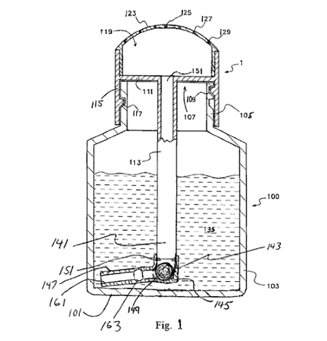
This liquid metered dispensing squeeze bottle includes a squeezable container with an opening for dispensing liquid and a non-flexible trap chamber of a predetermined volume connected to the opening of the container. It has a dip tube with a one-way valve system at the bottom of the dip tube, which includes a leg and a flexion mechanism on either the dip tube or the leg to permit folding of the leg toward the tube for insertion into a standard neck or narrow neck container. The unique bottom located valving and dip tube enhances air intake during partial inversion for dispensing.
View the full patent for the Metered Dose Squeeze Dispenser with Flexible-T Dip Tube.
Please contact DeJonge Associates for samples or additional information.
