By DeJonge Associates, Inc.
DeJonge Associates
Developer of Consumer Pharmaceuticals Packaging and Drug Delivery Systems for some of America's best known brands.
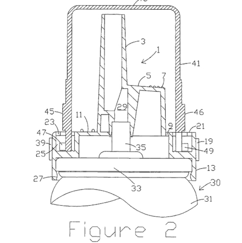
Rotate, Squeeze and Lift Child Resistant Safety Cap with Dispensing Actuator
A squeeze and lift child resistant safety closure for attachment to a container having a conventional container closure on its top. It relies upon squeezing an outer member to flex it from a circle to an oval and aligning indicia marks with the thumb and forefinger. In this design a dispenser actuator is physically connected to and hinges on one member of the cap.
View the full patent for the Rotate, Squeeze and Lift Child Resistant Cap with Actuator.
Please contact DeJonge Associates for samples or additional information.
